Ferrari
New Ferrari SF90 to spawn hardcore VS variant

New Ferrari SF90 to spawn hardcore VS variant
Ferrari is testing a special version of its SF90 hypercar
2 Jun 2023
New 2023 Ferrari Roma Spider arrives as luxury drop-top

New 2023 Ferrari Roma Spider arrives as luxury drop-top
Ferrari’s elegant GT is now even more opulent as open-top four seater Roma Spider
16 Mar 2023
Best convertibles and cabriolets to buy 2023

Best convertibles and cabriolets to buy 2023
Love the feeling of the wind in your hair while driving? These are the best convertible cars for the job
13 Mar 2023
New Ferrari Purosangue 2023 review

New Ferrari Purosangue 2023 review
The Ferrari Purosangue is every bit as spectacular to drive as it looks. Just don’t call it an SUV
8 Mar 2023
Top 10 best performance cars to buy 2023

Top 10 best performance cars to buy 2023
Performance cars have reached new heights of speed and interaction - here’s a list of our ten favourites from the current crop
6 Mar 2023
F1 preview 2023: full Formula One teams and drivers grid guide

F1 preview 2023: full Formula One teams and drivers grid guide
All the teams and drivers for the 23-round 2023 Formula One World Championship season
1 Mar 2023
The 6 BIG things to look out for during the 2023 Formula One season

The 6 BIG things to look out for during the 2023 Formula One season
As the Formula One season kicks off for 2023, here are some of the biggest things to keep an eye out for
1 Mar 2023
Get 6 issues for just £1 + a FREE welcome gift
Try Auto Express magazine today
New 2024 Ferrari hypercar hits the road: V12 swapped for smaller hybrid engine

New 2024 Ferrari hypercar hits the road: V12 swapped for smaller hybrid engine
Ferrari’s next flagship will be the first without a V12 engine for more than three decades, and it’s been spotted in pre-production form
17 Feb 2023
Top 10 best track day cars 2023

Top 10 best track day cars 2023
Whether you're looking to shave tenths off your lap time or simply want to have fun, these are some of the UK's best track cars
17 Feb 2023
Ferrari plan for authentic ‘engine noise’ in electric cars revealed

Ferrari plan for authentic ‘engine noise’ in electric cars revealed
External speaker means Italian brand's machinery could still offer a soul-stirring soundtrack, even in the EV era
23 Jan 2023
Fastest accelerating cars in the world 2023

Fastest accelerating cars in the world 2023
Combustion-engined supercars are making a last stand against electrified machines with some incredible 0-60mph times, and cars generally have never be…
8 Dec 2022
New Ferrari Vision Gran Turismo is a virtual V6 single seater concept car

New Ferrari Vision Gran Turismo is a virtual V6 single seater concept car
The Ferrari concept will only be available in the Gran Turismo video game
28 Nov 2022
New 2023 Ferrari Purosangue SUV: pricing, specs and performance

New 2023 Ferrari Purosangue SUV: pricing, specs and performance
Ferrari has entered a bold new world with its first SUV, the Purosangue
23 Nov 2022
Best cheap supercars 

Best cheap supercars
We've all trawled the internet looking at cheap supercars at some point, to save you the trouble here are some performance bargains
7 Nov 2022
What is the fastest car in the world? World's fastest production cars 2023

What is the fastest car in the world? World's fastest production cars 2023
We take a blast through the past, rediscovering the amazing cars that have held the title of world’s fastest production car
4 Nov 2022
2023 Ferrari 499P Le Mans Hypercar revealed

2023 Ferrari 499P Le Mans Hypercar revealed
Ferrari will contest next year’s Le Mans Hypercar class in the World Endurance Championship with its 499P racer
31 Oct 2022
New Ferrari 296 GTS 2022 review

New Ferrari 296 GTS 2022 review
Will a convertible roof and a plug-in hybrid powertrain quell Ferrari's mid-engined supercar passion? We drive the 296 GTS to find out...
19 Oct 2022
New Ferrari SP51 unveiled as a one-off commission

New Ferrari SP51 unveiled as a one-off commission
The 812 GTS-based SP51 is the latest creation from Ferrari’s ‘Special Projects’ division
28 Sep 2022
“The Ferrari Purosangue isn’t going to tick all the boxes SUV buyers might want”

“The Ferrari Purosangue isn’t going to tick all the boxes SUV buyers might want”
Editor-in-chief Steve Fowler thinks the new Ferrari Purosangue will struggle to match the practicality of other luxury SUVs
14 Sep 2022
New Ferrari SF90 Challenge race car spotted testing

New Ferrari SF90 Challenge race car spotted testing
A track-only version of Ferrari's hybrid supercar is undergoing testing at the Nurburgring, possibly in preparation for a one-make race series
9 Sep 2022
New Ferrari Daytona SP3 2022 review

New Ferrari Daytona SP3 2022 review
The Ferrari Daytona SP3 offers a pure-petrol V12, blistering performance and incredible looks in an ultra-exclusive package
3 Aug 2022
New Ferrari 296 GT3 racer revealed with detuned 600bhp V6

New Ferrari 296 GT3 racer revealed with detuned 600bhp V6
The new Ferrari 296 GTB-based race car will replace the 488 GT3 and arrives without the road car's hybrid system
29 Jul 2022
New Ferrari SF90 Spider 2022 review

New Ferrari SF90 Spider 2022 review
The greatest Ferrari? No, but there are times when it’s certainly one of the most exciting.
1 Jul 2022
Ferrari electric cars to be 40% of brand sales by 2030

Ferrari electric cars to be 40% of brand sales by 2030
Mix of propulsion technologies will see Ferrari offer battery electric, hybrid and e-fuel combustion cars
16 Jun 2022
Best Italian modern classic cars 2022

Best Italian modern classic cars 2022
We’ve trawled the market to bring you the best modern classics Italy has to offer
24 May 2022
Ferrari SP48 Unica unveiled as one-off V8 berlinetta 

Ferrari SP48 Unica unveiled as one-off V8 berlinetta
The Ferrari SP48 Unica is the latest car from the brand’s Special Projects programme, featuring a bespoke body and F8 Tributo power
5 May 2022
New 2022 Ferrari 296 GTS spider unveiled with 819bhp

New 2022 Ferrari 296 GTS spider unveiled with 819bhp
Drop-top GTS version of Ferrari’s 296 hybrid supercar has been revealed
19 Apr 2022
New Ferrari 296 GTB 2022 review

New Ferrari 296 GTB 2022 review
The new plug-in hybrid V6 Ferrari 296 GTB sports car is fast and fun
6 Mar 2022
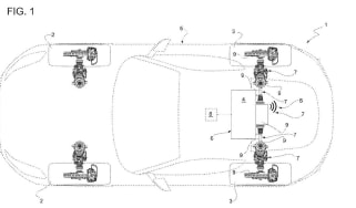
Ferrari files new patent for future electric sports car platform

Ferrari files new patent for future electric sports car platform
Design sketches also offer a glimpse at how Ferrari’s future electric sports car could look
11 Feb 2022
“Ferrari’s Icona series could be the last chance for the technologies that have shaped the firm's legacy”

“Ferrari’s Icona series could be the last chance for the technologies that have shaped the firm's legacy”
John McIlroy looks on in wonder at the stunning new Ferrari Daytona SP3 but sees the Icona series cars as the end of an era for the famous Italian bra…
20 Nov 2021
New mid-engined Ferrari Daytona SP3 arrives with 829bhp V12

New mid-engined Ferrari Daytona SP3 arrives with 829bhp V12
The new Ferrari Daytona SP3 is the latest model in the brand's Icona series, and is the first mid-engined V12 since the LaFerrari
20 Nov 2021
One-off Ferrari BR20 launched with 681bhp V12 engine

One-off Ferrari BR20 launched with 681bhp V12 engine
The tailor-made Ferrari BR20 creation is based on the GTC4Lusso, but it features a new coupe roof and a retrimmed interior
11 Nov 2021
New Ferrari 812 Competizione 2021 review

New Ferrari 812 Competizione 2021 review
We hit the track with the Ferrari 812 Competizione, the extreme version of the 812 Superfast
10 Nov 2021
Apple iPhone designer Jony Ive to work with Ferrari

Apple iPhone designer Jony Ive to work with Ferrari
New collaboration will see ‘creative projects’ in the luxury sector but stops short of confirming automotive plans
28 Sep 2021